PILOT-MVS
(WSTAR)

MVS0840X02S090PL EDP:10555965

Product Information

  • Straight cutting edge profile improves both chip evacuation and cutting edge strength.
  • Double margin offers excellent straightness and high precision.

Type   [Outspread ]

Type   [Outspread ]

Diameter (Unit)
Name of Grade Carbide
Grade DP1020
Sales unit 1
Stock
Unit of Length M
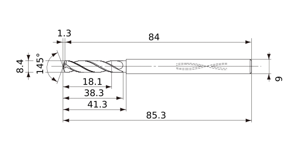
DC 8.4
DCON 9
SIG 145°
LF 84
OAL 85.3
LH 41.3
LU 18.1
LCF 38.3
FHA 27°
ld 2
PL 1.3
Effective Cutting Edge 2
Max. Cutting EdgeDiameter Tolerance 0
Min. Cutting EdgeDiameter Tolerance -0.022
Type of Coolant Internal
2D Model (DXF)
CAD data name Download
MVS0840X02S090PL
CAD

3D Light Model (STP,STL)
CAD data name Download
MVS0840X02S090PL
CAD CAD

Stock

:Inventory maintained.
:Non stock, produced to order only.
:Inventory maintained. To be replaced by new products.
:Inventory maintained in Japan.

Return to TOP