VFR2SB
(Ball nose, Short cut length, 2 flute)

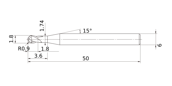
VFR2SBR0090S06 EDP:10567951

Product Information

  • Optimization of the cutting edge curve, helix angle, and rake angle have improved the edge strength at all areas of the ball blades.

Type   [Outspread ]

Type   [Outspread ]

Diameter (Unit)
Sales unit 1
Stock
Unit of Length M
DC 1.8
DCON 6
DN 1.74
BHTA2 15°
LF 50
LU 3.6
APMX 1.8
FHA 20°
RE 0.9
Peripheral effective cutting edge count: ZEFP 2
R Tolerance - -0.005
R Tolerance + 0.005
Coated VFR
2D Model (DXF)
CAD data name Download
VFR2SBR0090S06
CAD

3D Light Model (STP,STL)
CAD data name Download
VFR2SBR0090S06
CAD CAD

Stock

:Inventory maintained.
:Non stock, produced to order only.
:Inventory maintained. To be replaced by new products.
:Inventory maintained in Japan.

Return to TOP