VFR2SB
(Ball nose, Short cut length, 2 flute)

VFR2SBR0250 EDP:10568040

Product Information

  • Optimization of the cutting edge curve, helix angle, and rake angle have improved the edge strength at all areas of the ball blades.

Type   [Outspread ]

Type   [Outspread ]

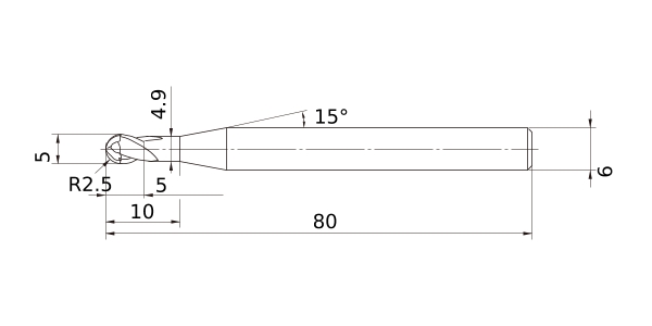
Diameter (Unit)
Sales unit 1
Stock
Unit of Length M
DC 5
DCON 6
DN 4.9
BHTA2 15°
LF 80
LU 10
APMX 5
FHA 20°
RE 2.5
Peripheral effective cutting edge count: ZEFP 2
R Tolerance - -0.005
R Tolerance + 0.005
Coated VFR
2D Model (DXF)
CAD data name Download
VFR2SBR0250
CAD

3D Light Model (STP,STL)
CAD data name Download
VFR2SBR0250
CAD CAD

Stock

:Inventory maintained.
:Non stock, produced to order only.
:Inventory maintained. To be replaced by new products.
:Inventory maintained in Japan.

Return to TOP