DF2XLB
(Ball nose, 2 flute, Long neck, For graphite)

DF2XLBR0200N300 EDP:540285

Product Information

  • 2 flute long neck ball nose end mill with original diamond coating for graphite machining.

Type   [Outspread ]

Type   [Outspread ]

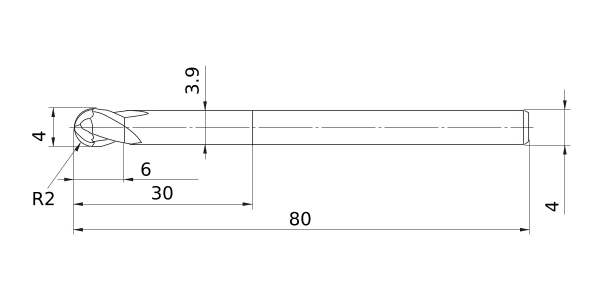
Diameter (Unit)
Sales unit 1
Stock
Unit of Length M
DC 4
DCON 4
DN 3.9
LF 80
LU 30
APMX 6
FHA 30°
RE 2
Peripheral effective cutting edge count: ZEFP 2
R Tolerance - -0.01
R Tolerance + 0.01
Coated DF
2D Model (DXF)
CAD data name Download
DF2XLBR0200N300
CAD

3D Light Model (STP,STL)
CAD data name Download
DF2XLBR0200N300
CAD CAD

Stock

:Inventory maintained.
:Non stock, produced to order only.
:Inventory maintained. To be replaced by new products.
:Inventory maintained in Japan.

Return to TOP