MP2XLB
(End mill, Short cut length, 2 flute, Long neck)

MP2XLBR0200N400 EDP:831681

Product Information

  • 2-flute long neck ball nose end mills. Excellent performance for a wide range of workpiece materials such as carbon steel, alloy steel and hardened steel.

Type   [Outspread ]

Type   [Outspread ]

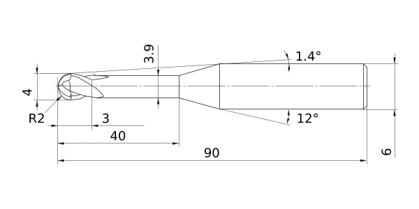
Diameter (Unit)
Sales unit 1
Stock
Unit of Length M
DC 4
DCON 6
DN 3.9
B2 1.4°
BHTA2 12°
LF 90
LU 40
APMX 3
FHA 30°
RE 2
Peripheral effective cutting edge count: ZEFP 2
R Tolerance - -0.005
R Tolerance + 0.005
Coated MS+
2D Model (DXF)
CAD data name Download
MP2XLBR0200N400
CAD

3D Light Model (STP,STL)
CAD data name Download
MP2XLBR0200N400
CAD

Stock

:Inventory maintained.
:Non stock, produced to order only.
:Inventory maintained. To be replaced by new products.
:Inventory maintained in Japan.

Return to TOP