CARTRIDGE
 LL ISO type Lever lock type PSYN Type  

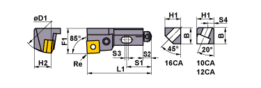
PSYN type

Type Order Number Stock Dimensions(mm) Standard
Corner
Radius
Re(mm)
Min. Cutting
Diameter
D1(mm)
Insert Number CAD Data
Download
 H1  B L1 S1 S2 S3 S4 H2 F1
PSYN PSYNR10CA09 12.5 11 50 20 8 2 5 10 14 0.8 40 SNMA
SNMG
SNMM
SNGA
SNGG
0903__
PSYNR12CA12 15.5 16 55 20 8 2 6 12 20 0.8 50 1204__
PSYNR16CA12 16 17 63 25 8 2.5 - 16 25 0.8 60 1204__

Stock : Inventory maintained in Japan.