Solid End Mills >MP2XLB >MP2XLBR0010N010

Solid End Mills

MP2XLB
(End mill, Short cut length, 2 flute, Long neck)

MP2XLBR0010N010

Product Information

  • 2-flute long neck ball nose end mills. Excellent performance for a wide range of workpiece materials such as carbon steel, alloy steel and hardened steel.

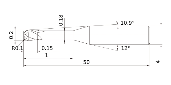
The actual product may differ from the displayed image.
For details, please check the dimensions below.

Type   [Expand ]

Type   [Expand ]

Diameter (Unit)
Stock
Unit of Length M
DC 0.2
DCON 4
DN 0.18
B2 10.9°
BHTA2 12°
LF 50
LU 1
APMX 0.15
FHA 32.5°
RE 0.1
Peripheral effective cutting edge count: ZEFP 2
R Tolerance - -0.005
R Tolerance + 0.005
Coated MS+
2D Model (DXF)
CAD data name Download
MP2XLBR0010N010
CAD

3D Light Model (STP,STL)
CAD data name Download
MP2XLBR0010N010
CAD

Stock

:Inventory maintained.
:Non stock, produced to order only.
:Inventory maintained. To be replaced by new products.
:Inventory maintained in Japan.

Return to TOP

This website uses cookies in order to improve your experience and keep your session. By clicking on the 'I understand and accept' button on this page you consent the usage of cookies and accept our Privacy Policy .