Solid End Mills >C4LATB >C4LATBR100T040AP20

Solid End Mills

C4LATB
(Ball nose taper end mill, Long cut length, 4 flute, For aluminum impellers)

C4LATBR100T040AP20

Product Information

  • High-efficiency roughing for aluminum impellers.

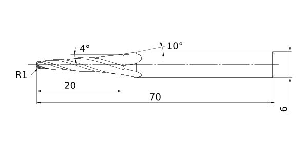
The actual product may differ from the displayed image.
For details, please check the dimensions below.

Type   [Expand ]

Type   [Expand ]

Diameter (Unit)
Stock
Unit of Length M
DC 2
DCON 6
BHTA1
BHTA2 10°
LF 70
APMX 20
FHA 20°
RE 1
Peripheral effective cutting edge count: ZEFP 4
R Tolerance - -0.01
R Tolerance + 0.01
2D Model (DXF)
CAD data name Download
C4LATBR100T040AP20
CAD

3D Light Model (STP,STL)
CAD data name Download
C4LATBR100T040AP20
CAD

Stock

:Inventory maintained.
:Non stock, produced to order only.
:Inventory maintained. To be replaced by new products.
:Inventory maintained in Japan.

Return to TOP

This website uses cookies in order to improve your experience and keep your session. By clicking on the 'I understand and accept' button on this page you consent the usage of cookies and accept our Privacy Policy .