Solid End Mills

VQN4MBF
(Ball nose, Medium cut length, 4 flute)

VQN4MBFR0100

Product Information

  • (Al, Ti, Si) N-based coating has excellent wear and chipping resistance when machining heat resistant super alloys.
  • The 4-flute end cutting edge is also ideal for 5-axis machining.

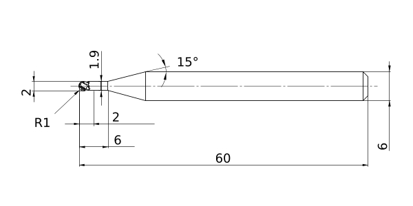
The actual product may differ from the displayed image.
For details, please check the dimensions below.

Type   [Expand ]

Type   [Expand ]

Diameter (Unit)
Stock
Unit of Length M
DC 2
DCON 6
DN 1.9
BHTA2 15°
LF 60
LU 6
APMX 2
FHA 30°
RE 1
Peripheral effective cutting edge count: ZEFP 4
R Tolerance - -0.01
R Tolerance + 0.01
Coated VQN
2D Model (DXF)
CAD data name Download
VQN4MBFR0100
CAD

3D Light Model (STP,STL)
CAD data name Download
VQN4MBFR0100
CAD

Stock

:Inventory maintained.
:Non stock, produced to order only.
:Inventory maintained. To be replaced by new products.
:Inventory maintained in Japan.

Return to TOP

This website uses cookies in order to improve your experience and keep your session. By clicking on the 'I understand and accept' button on this page you consent the usage of cookies and accept our Privacy Policy .