Solid End Mills >iMX_C10T_E >IMX12C10T100R10T080E

Solid End Mills

iMX_C10T_E
(Corner radius head, Taper head, Multi-flute, With coolant holes)

IMX12C10T100R10T080E

Product Information

The actual product may differ from the displayed image.
For details, please check the dimensions below.

Type   [Expand ]

Type   [Expand ]

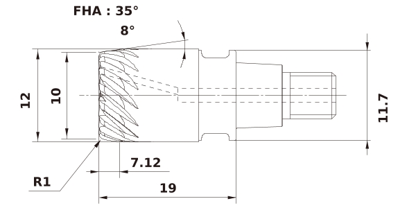
Diameter (Unit)
Name of Grade Carbide
Grade EP7020
Stock
Unit of Length M
DC 10
DCX 12
DCONMS 11.7
BHTA1
LH 19
APMX 7.12
FHA 35°
RE 1
Peripheral effective cutting edge count: ZEFP 10
R Tolerance - -0.015
R Tolerance + 0.015
Max. Cutting EdgeDiameter Tolerance 0
Min. Cutting EdgeDiameter Tolerance -0.02

Stock

:Inventory maintained.
:Non stock, produced to order only.
:Inventory maintained. To be replaced by new products.
:Inventory maintained in Japan.

Return to TOP

This website uses cookies in order to improve your experience and keep your session. By clicking on the 'I understand and accept' button on this page you consent the usage of cookies and accept our Privacy Policy .