Brocas >MNS_DIN >MNS0380S-DIN-C

Brocas

MNS_DIN
 

MNS0380S-DIN-C

Información sobre productos

  • Óptimo filo de corte para mecanizado de aleaciones de aluminio.

The actual product may differ from the displayed image.
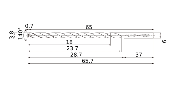
For details, please check the dimensions below.

Tipo   [Extendido ]

Tipo   [Extendido ]

Diámetro (Unit)
Nombre de calidad Metal Duro
Calidad TF15
Existencia
Unidad de longitud M
D1 3.8
D4 6
DC 3.8
DCON 6
SIG 140°
LF 65
OAL 65.7
LH 28.7
LU 18
LCF 23.7
LS 37
FHA 30°
ld 3
PL 0.7
Effective Cutting Edge 2
Tolerancia máx. de diámetro de filo de corte 0.016
Tolerancia mín. de diámetro de filo de corte 0.004
Tipo de refrigerante Interior
Modelo 2D (DXF)
Nombre datos CAD Descargar
MNS0380S-DIN-C
CAD

Modelo Ligth 3D (STP,STL)
Nombre datos CAD Descargar
MNS0380S-DIN-C
CAD

Existencia

:Existencia en Europa
:A fabricar según demanda
:Existencia en Europa Será reemplazado por nuevos productos.
:Existencia en Japón

Volver al principio

Nuestro sitio web cumple con la normativa GDPR de la UE y utiliza cookies técnicas y funcionales para mejorar su experiencia y guardar su sesión. Al hacer clic en el botón "Aceptar", usted acepta el uso de cookies y nuestra politica de privacidad datos .