Solid End Mills >VFR2XLB >VFR2XLBR0025N040

Solid End Mills

VFR2XLB
(Ball nose, 2 Flute, Long neck)

VFR2XLBR0025N040

Product Information

  • Precise machining of vertical walls is possible due to a back taper and a strong, seamless ball nose cutting edge geometry.

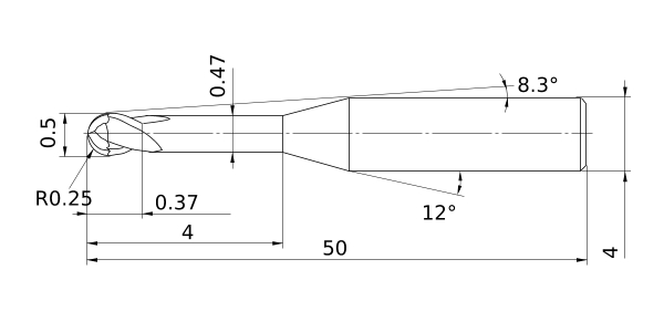
The actual product may differ from the displayed image.
For details, please check the dimensions below.

Type   [Expand ]

Type   [Expand ]

Diameter (Unit)
Stock
Unit of Length M
DC 0.5
DCON 4
DN 0.47
B2 8.3°
BHTA2 12°
LF 50
LU 4
APMX 0.37
FHA 30°
RE 0.25
Peripheral effective cutting edge count: ZEFP 2
R Tolerance - -0.005
R Tolerance + 0.005
Coated VFR
2D Model (DXF)
CAD data name Download
VFR2XLBR0025N040
CAD

3D Light Model (STP,STL)
CAD data name Download
VFR2XLBR0025N040
CAD

Stock

:Inventory maintained in Japan.
:Non stock, produced to order only.
:Inventory maintained in Japan. To be replaced by new products.
:-

Return to TOP

This website uses cookies in order to improve your experience and keep your session. By clicking on the 'I understand and accept' button on this page you consent the usage of cookies and accept our Privacy Policy .