Solid End Mills >iMX_C6HV_C >IMX25C6HV250R30025C

Solid End Mills

iMX_C6HV_C
(CORNER RADIUS HEAD, 6 FLUTE, IRREGULAR HELIX, WITH COOLANT HOLE)

IMX25C6HV250R30025C

Product Information

  • Chatter and vibration are suppressed and stable machining is enabled by using irregular helix flutes.
  • Equipped with centre through coolant hole to improve chip evacuation.

The actual product may differ from the displayed image.
For details, please check the dimensions below.

Type   [Expand ]

Type   [Expand ]

Diameter (Unit)
Name of Grade Carbide
Grade EP7020
Stock
Unit of Length M
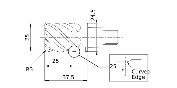
DC 25
DCON 24.5
LH 37.5
APMX 25
FHA 36°,40°
RE 3
Peripheral effective cutting edge count: ZEFP 6
R Tolerance - -0.02
R Tolerance + 0.02
Max. Cutting EdgeDiameter Tolerance 0
Min. Cutting EdgeDiameter Tolerance -0.05
2D Model (DXF)
CAD data name Download
IMX25C6HV250R30025C
CAD

3D Light Model (STP,STL)
CAD data name Download
IMX25C6HV250R30025C
CAD

Stock

:Inventory maintained in Japan.
:Non stock, produced to order only.
:Inventory maintained in Japan. To be replaced by new products.
:-

Return to TOP

This website uses cookies in order to improve your experience and keep your session. By clicking on the 'I understand and accept' button on this page you consent the usage of cookies and accept our Privacy Policy .