槽加工GY >MHS >MHS0295L065B

槽加工GY

MHS
(WSTAR)

MHS0295L065B

产品信息

  • 可实现模具稳定切削的独创切削刃形状&双重棱边

实际产品与显示图像存在不一致情况,敬请留意。

图   [放大 ]

图   [放大 ]

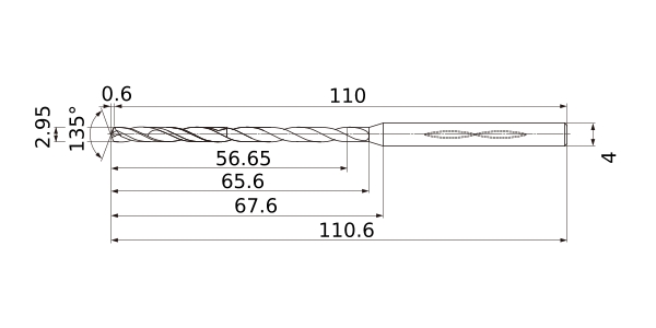
尺寸 (Unit)
材料分类名称 硬质合金
材料 VP15TF
库存
长度单位 M
DC 2.95
DCON 4
SIG 135°
LF 110
OAL 110.6
LH 67.6
LU 56.65
LCF 65.6
FHA 25°
ld 19
PL 0.6
Effective Cutting Edge 2
切削刃标准直径公差最大 0.01
切削刃标准直径公差最小 -0.002
冷却方式 内部
2D 模型 (DXF)
CAD数据名称 下载
MHS0295L065B
CAD

3D 简易模型 (STP,STL)
CAD数据名称 下载
MHS0295L065B
CAD

库存

:标准库存品
:预订生产品
:目前为标准库存品,但将来会被新产品替换的产品
:特定代理店库存品

返回页面顶部

点击本页上的“同意”按钮,即表示您同意使用cookies并接受我们的隐私政策。 本网站使用cookies来改善网站,提高顾客的使用体验,分析网站的使用状况,以便于我司的市场工作。详情请看《 个人信息保护方针 》。