Search by:

Unit :

Grooving GY Series

GYH90D_INCH
(90° type holder)

5H1R4G23

Product Information

  • High accuracy, long life inserts for a wide variety of machining applications
  • Highly reliable insert clamping
  • Innovative Tri Lock System
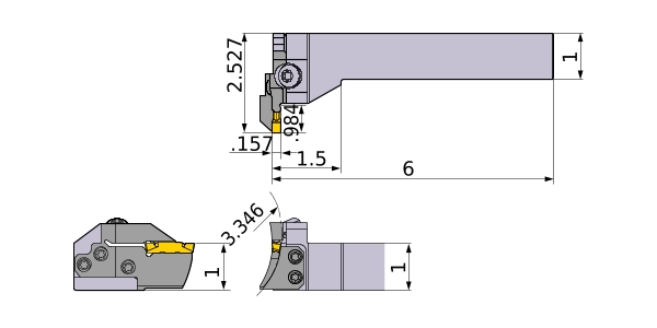
  • Dimensions shown are when the gauge insert is used.

The actual product may differ from the displayed image.
For details, please check the dimensions below.

Type   [Outspread ]

Type   [Outspread ]

Diameter (Unit)
Hand R
Stock
Unit of Length I
DAXN 2.362
CUTDIA 3.346
B 1
LF 6
LH 1.5
CDX .984
WF 2.527
H 1
HF 1
CW .157
Peripheral effective cutting edge count: ZEFP 1
Modular Holder GYHRUS16D90-M25L
Modular Blade GYM25LD-G25-060
2D Model (DXF)
CAD data name Download
5H1R4G23
CAD

3D Detail Model (STP,STL)
CAD data name Download
5H1R4G23
CAD

Stock

:Inventory maintained.
:Non stock, produced to order only.
:Inventory maintained. To be replaced by new products.
:Inventory maintained in Japan.

Return to TOP

This website uses cookies in order to improve your experience and keep your session. By clicking on the 'I understand and accept' button on this page you consent the usage of cookies and accept our Privacy Policy .