Search by:

Unit :

Solid End Mills

MS2XLB_INCH
(Ball nose end mill, Short cut length, 2 flute, Long neck)

MS2XLBD1/4N1500 EDP:317083

Product Information

  • 2 flute, long neck, ball nose end mill for general purpose.

The actual product may differ from the displayed image.
For details, please check the dimensions below.

Type   [Outspread ]

Type   [Outspread ]

Diameter (Unit)
Sales unit 1
Stock
Unit of Length I
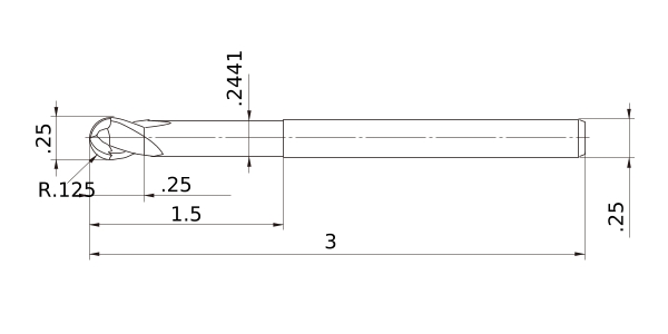
DC .25
DCON .25
DN .2441
LF 3
LU 1.5
APMX .25
FHA 30°
RE .125
Peripheral effective cutting edge count: ZEFP 2
R Tolerance - -.0004
R Tolerance + .0004
Max. Cutting EdgeDiameter Tolerance 0
Min. Cutting EdgeDiameter Tolerance -.0008
Coated MS
2D Model (DXF)
CAD data name Download
MS2XLBD1-4N1500
CAD

3D Light Model (STP,STL)
CAD data name Download
MS2XLBD1-4N1500
CAD CAD

Stock

:Inventory maintained.
:Non stock, produced to order only.
:Inventory maintained. To be replaced by new products.
:Inventory maintained in Japan.

Return to TOP

This website uses cookies in order to improve your experience and keep your session. By clicking on the 'I understand and accept' button on this page you consent the usage of cookies and accept our Privacy Policy .