Search by:

Unit :

Solid End Mills

VF2XLB_INCH
(Ball nose, Long cut length, 2 flute, For hardened materials)

VF2XLBD3/16N4D EDP:613721

METRIC Products
Shape Series Geometry Cutter Body Type Feature Structure
VF2XLB Ball Nose Type
  • Long Neck
  • 2 flute long neck ball nose end mills with Impact Miracle coating for high hardness materials.
Solid Carbide
VF2XLBS Ball Nose Type
  • Long Neck
  • 2 flute long neck ball nose end mill for high-speed machining of hardened steel.
  • Short shank type suitable for use with a shrink fit holder.
Solid Carbide

Product Information

  • 2 flute long neck ball nose end mills with Impact Miracle coating for high hardness materials.

The actual product may differ from the displayed image.
For details, please check the dimensions below.

Type   [Outspread ]

Type   [Outspread ]

Diameter (Unit)
Sales unit 1
Stock
Unit of Length I
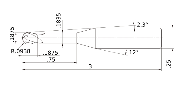
DC .1875
DCON .25
DN .1835
B2 2.3°
BHTA2 12°
LF 3
LU .75
APMX .1875
FHA 30°
RE .0938
Peripheral effective cutting edge count: ZEFP 2
R Tolerance - -.0002
R Tolerance + .0002
Max. Cutting EdgeDiameter Tolerance 0
Min. Cutting EdgeDiameter Tolerance -.0008
Coated VF
2D Model (DXF)
CAD data name Download
VF2XLBD3-16N4D
CAD

3D Light Model (STP,STL)
CAD data name Download
VF2XLBD3-16N4D
CAD CAD

Stock

:Inventory maintained.
:Non stock, produced to order only.
:Inventory maintained. To be replaced by new products.
:Inventory maintained in Japan.

Return to TOP

This website uses cookies in order to improve your experience and keep your session. By clicking on the 'I understand and accept' button on this page you consent the usage of cookies and accept our Privacy Policy .