Search by:

Unit :

Solid End Mills >VQ2XLB >VQ2XLBR0100N100S06

Solid End Mills

VQ2XLB
(Ball nose, Short cut length, 2 flute, Long neck)

VQ2XLBR0100N100S06 EDP:10619704

Product Information

  • SMART MIRACLE coating providing better wear resistance when machining difficult-to-cut materials.

The actual product may differ from the displayed image.
For details, please check the dimensions below.

Type   [Outspread ]

Type   [Outspread ]

Diameter (Unit)
Sales unit 1
Stock
Unit of Length M
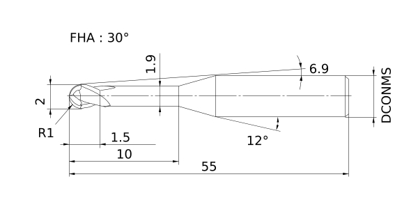
DC 2
DCON 6
DN 1.9
B2 6.9
BHTA2 12°
LF 55
LU 10
APMX 1.5
FHA 30°
RE 1
Peripheral effective cutting edge count: ZEFP 2
R Tolerance - -0.005
R Tolerance + 0.005
Coated VQ
2D Model (DXF)
CAD data name Download
VQ2XLBR0100N100S06
CAD

3D Light Model (STP,STL)
CAD data name Download
VQ2XLBR0100N100S06
CAD

Stock

:Inventory maintained.
:Non stock, produced to order only.
:Inventory maintained. To be replaced by new products.
:Inventory maintained in Japan.

Return to TOP

This website uses cookies in order to improve your experience and keep your session. By clicking on the 'I understand and accept' button on this page you consent the usage of cookies and accept our Privacy Policy .